当前位置:首页 > 知产资源 > 正文
一种多级沉降池
【字体:                   分享到:

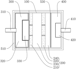
本实用新型公开了一种多级沉降池,涉及水处理技术领域。多级沉降池用于对化工污水进行沉降过滤,包括第一沉降池、过滤件;第一沉降池相对的两侧壁上对应设有第一排水孔、第二排水孔;过滤件设置于第一沉降池内,过滤件包括第一过滤网、第二过滤网;从第一排水孔流过的污水能够透过第一过滤网进入第一沉降池内,第一沉降池内的污水随着增多能够溢过第二过滤网并通过第二排水孔排出;本实用新型提供的多级沉降池,使污水在经过第一沉降池时,从进入沉降池及出沉降池均需要进行过滤,即通过对污水依次进行过滤、沉降反应、过滤的处理流程,能够大大提高对污水的处理效果,降低对后续排水管道堵塞的概率。

 

F6eN0-qJTlM_jl5Qw5Bgoi9EvVaAb-wF.pdf

 

Copyright ©2026   濮阳市知识产权公共服务平台 All Rights Reserved.