当前位置:首页 > 知产资源 > 正文
一种尼龙生产用助剂混合装置
【字体:                   分享到:

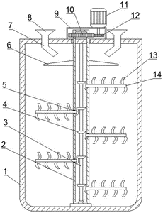
  本实用新型涉及助剂混合技术领域,特别是一种尼龙生产用助剂混合装置,包括混料罐,在混料罐内设有搅拌机构,搅拌机构包括转动设在混料罐内的搅拌轴,在搅拌轴两侧壁上分别设有多个搅拌杆,在混料罐的顶部设有驱动搅拌轴转动的驱动机构,在驱动机构的两侧分别设有进料斗,在进料斗的底部连接有进料管,在搅拌轴的上端设有匀料机构,进料管的底部延伸至混料罐内,且进料管的出口朝向匀料机构。

NMV0Vfs7x_1NnmenKYmrlcwPhSS8Ss8E.pdf

Copyright ©2026   濮阳市知识产权公共服务平台 All Rights Reserved.