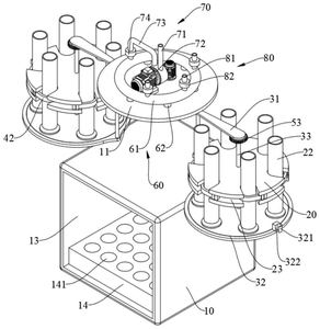
本发明提供一种化学制剂生产用取样检测装置,涉及取样检测技术领域,该一种化学制剂生产用取样检测装置包括台座,所述台座的上方设置有顶板,所述台座的顶部固定有两个对称分布的支撑轴,用以对顶板的支撑;支撑盘,所述支撑盘数量为两个,且分别位于两个支撑轴相互远离的一侧,所述支撑盘的内部设置有多个环形均布的放置槽,且每个放置槽内部均设置有检测管;能够方便快捷的对每组检测的多个检测管进行样液的分装,以及同步震荡混合,加快样液与检测剂的混合速率,省去了检测员逐个摇晃的麻烦,降低检测员的劳动强度,并提高其工作效率,且通过两个支撑盘交替使用,能够对不同组检测项目所需的检测管进行便捷安放。
