当前位置:首页 > 知产资源 > 正文
一种烟气中硼酐回收用预热器
【字体:                   分享到:

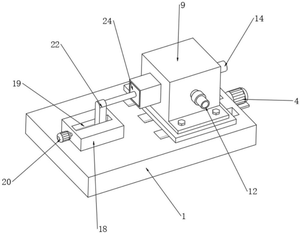
本实用新型涉及预热器技术领域,且公开了一种烟气中硼酐回收用预热器,包括底板,底板上开设的有三个第一滑槽,底板上位于两侧的第一滑槽内固定安装的有固定杆,底板的一侧端面固定安装的有第一驱动电机,烟气中硼酐回收用预热器,通过第一驱动电机进行控制从而来使其带动其输出端上所安装的第一螺纹杆进行转动,因第一螺纹杆是插设在连接块内的通孔内,因此这就使得第一螺纹杆在转动时便可以较好的带动固定板在第一滑槽内进行前后移动,从而来较好的使得固定板带动加热箱进行向外进行移动,然后固定板底部连接块的通孔内也贯穿的一固定杆,因此这就使得固定板在进行移动时可以较好的保持稳定,从而可以较好的使得工作人员来对加热箱进行维护。

一种烟气中硼酐回收用预热器

Copyright ©2026   濮阳市知识产权公共服务平台 All Rights Reserved.